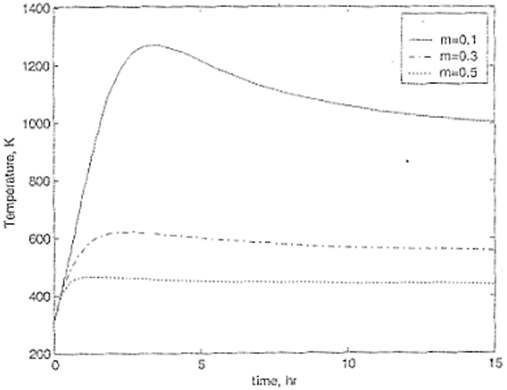
Figure 9: Temperatures inside rotary kiln at different amount of excess air and for seven chlorine atoms.

figure 9