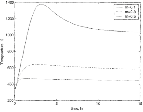
Figure 8: Temperatures inside rotary kiln at different amount of excess air and for one chlorine atom.

figure 8